| Status de disponibilidade: | |
|---|---|
| Quantidade: | |
Espessante GNZ
Toncin
Em geral
Um espessador comum convencional conduz espessamento e desidratação por meio de sedimento gravitacional de materiais, que é, no entanto, de baixo rendimento e requer um grande espaço apesar de um baixo custo operacional para o equipamento; com o desenvolvimento contínuo: tecnologia, especialmente a queda do custo do floculante, tornou-se a prática predominante para otimizar a estrutura do equipamento e adotar floculante para auxiliar o desidratador: com base na técnica de espessamento do Grupo SUNNY britânico e através do espessador introally atualizado técnica, desenvolvemos um novo espessador de alta taxa de acionamento central GNZ, espessador de alta taxa de cone profundo SGN, espessador comum fino de alta pressão de alta pressão GNYZ; todos esses novos espessadores de alta taxa introduziram a função! desaguamento assistido, o espessador recém-desenvolvido possui características notáveis como eficiência de espessamento rápido, alta capacidade de tratamento e alta concentração de underflow, e agora é amplamente aplicado à desidratação de vários minérios metálicos e não metálicos, e à separação sólido-líquido de lama em setores como metalurgia, carvão, produtos químicos, rejeitos de minas e proteção ambiental.
Características
A adoção de corpo de tanque de formato redondo, inclinação varlável ou fundo de tanque de cone profundo pode alcançar filtração profunda e compressão profunda, e fundo de tanque de inclinação variável pode acelerar a remoção de poluição de fluxo de alta concentração em direção ao centro; é acionado pela caixa de engrenagens planetárias de alta taxa por meio de motor hidráulico de baixa velocidade ou motor de acionamento. E o levantamento do ancinho é conduzido pelo dispositivo de elevação, e o ancinho rotativo é levantado por vários cilindros hidráulicos ou redutores de elevação funcionando em paralelo, para permitir a condução, descarregar e reduzir a carga, de modo a proteger o sistema de acionamento.
Unidade de acionamento convencional: A. A caixa de engrenagens planetária fornece torque estável e capacidade de carga de empuxo. B. O monitoramento preciso do torque do sistema pode ser realizado através da medição do sensor de pressão hidráulica ou medidor de torque para o eixo do motor de acionamento principal, de modo a realizar a proteção eficaz para o dispositivo de acionamento. o torque nominal de projeto e o torque excessivo não podem acontecer; o acionamento do motor ativa alarmes e inclinação para levantar ou descer e desarmar o motor através da medição e monitoramento do torque do eixo do motor.
O sistema de alimentação de alta taxa possui funções como desgaseificação adequada, controle de taxa de alimentação de polpa, controle de dosagem floculenta e estrutura razoável do cilindro de alimentação
Estrutura
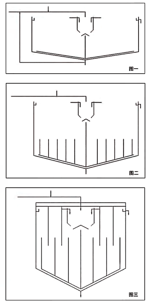
O espessador SUNNY high-tate pode ser dividido em espessante geral de alta taxa, espessante de alta concentração e espessante de pasta de cone profundo de acordo com a concentração de underflow.
1. Um espessante geral de taxa hl, le. GNZ centra o espessador de alta taxa, tem uma inclinação de 7-9 graus para o fundo do tanque e uma altura de 3m para o lado plano, enquanto sua concentração de underflow pode normalmente atingir 45-50%.
2. Espessador de alta concentração, tem uma inclinação de 14 ~ 20 graus para o fundo do tanque e um lado plano ligeiramente mais alto do que um espessante geral de alto destino; A técnica de inclinação lateral também pode ser adotada, como o espessador de alta pressão e alta tate GNYZ. Sua concentração de underflow normalmente pode atingir 55-60%.
3. Espessador de pasta, 1.e.SGN de alto ate espessante de cone profundo, tem uma inclinação maior de 25 ~ 35 graus para o fundo do tanque e uma altura de mais de 6 m para seu lado plano (a altura ganhará com o aumento do diâmetro do tanque). Sua relação altura-diâmetro pode atingir 0,4 ~ 1,2, e sua concentração de underflow pode normalmente atingir acima de 60%.
Em geral
Um espessador comum convencional conduz espessamento e desidratação por meio de sedimento gravitacional de materiais, que é, no entanto, de baixo rendimento e requer um grande espaço apesar de um baixo custo operacional para o equipamento; com o desenvolvimento contínuo: tecnologia, especialmente a queda do custo do floculante, tornou-se a prática predominante para otimizar a estrutura do equipamento e adotar floculante para auxiliar o desidratador: com base na técnica de espessamento do Grupo SUNNY britânico e através do espessador introally atualizado técnica, desenvolvemos um novo espessador de alta taxa de acionamento central GNZ, espessador de alta taxa de cone profundo SGN, espessador comum fino de alta pressão de alta pressão GNYZ; todos esses novos espessadores de alta taxa introduziram a função! desaguamento assistido, o espessador recém-desenvolvido possui características notáveis como eficiência de espessamento rápido, alta capacidade de tratamento e alta concentração de underflow, e agora é amplamente aplicado à desidratação de vários minérios metálicos e não metálicos, e à separação sólido-líquido de lama em setores como metalurgia, carvão, produtos químicos, rejeitos de minas e proteção ambiental.
Características
A adoção de corpo de tanque de formato redondo, inclinação varlável ou fundo de tanque de cone profundo pode alcançar filtração profunda e compressão profunda, e fundo de tanque de inclinação variável pode acelerar a remoção de poluição de fluxo de alta concentração em direção ao centro; é acionado pela caixa de engrenagens planetárias de alta taxa por meio de motor hidráulico de baixa velocidade ou motor de acionamento. E o levantamento do ancinho é conduzido pelo dispositivo de elevação, e o ancinho rotativo é levantado por vários cilindros hidráulicos ou redutores de elevação funcionando em paralelo, para permitir a condução, descarregar e reduzir a carga, de modo a proteger o sistema de acionamento.
Unidade de acionamento convencional: A. A caixa de engrenagens planetária fornece torque estável e capacidade de carga de empuxo. B. O monitoramento preciso do torque do sistema pode ser realizado através da medição do sensor de pressão hidráulica ou medidor de torque para o eixo do motor de acionamento principal, de modo a realizar a proteção eficaz para o dispositivo de acionamento. o torque nominal de projeto e o torque excessivo não podem acontecer; o acionamento do motor ativa alarmes e inclinação para levantar ou descer e desarmar o motor através da medição e monitoramento do torque do eixo do motor.
O sistema de alimentação de alta taxa possui funções como desgaseificação adequada, controle de taxa de alimentação de polpa, controle de dosagem floculenta e estrutura razoável do cilindro de alimentação
Estrutura
O espessador SUNNY high-tate pode ser dividido em espessante geral de alta taxa, espessante de alta concentração e espessante de pasta de cone profundo de acordo com a concentração de underflow.
1. Um espessante geral de taxa hl, le. GNZ centra o espessador de alta taxa, tem uma inclinação de 7-9 graus para o fundo do tanque e uma altura de 3m para o lado plano, enquanto sua concentração de underflow pode normalmente atingir 45-50%.
2. Espessador de alta concentração, tem uma inclinação de 14 ~ 20 graus para o fundo do tanque e um lado plano ligeiramente mais alto do que um espessante geral de alto destino; A técnica de inclinação lateral também pode ser adotada, como o espessador de alta pressão e alta tate GNYZ. Sua concentração de underflow normalmente pode atingir 55-60%.
3. Espessador de pasta, 1.e.SGN de alto ate espessante de cone profundo, tem uma inclinação maior de 25 ~ 35 graus para o fundo do tanque e uma altura de mais de 6 m para seu lado plano (a altura ganhará com o aumento do diâmetro do tanque). Sua relação altura-diâmetro pode atingir 0,4 ~ 1,2, e sua concentração de underflow pode normalmente atingir acima de 60%.